不足三个月时间,光大旗下三家村镇银行全部退出。
金监总局金融许可证信息显示,发起设立的江西瑞金光大村镇银行,已于今年1月23日正式退出。在此之前,该行旗下的江苏淮安光大村镇银行于同年1月20日退出;韶山光大村镇银行于去年11月11日退出。至此,光大银行旗下村镇银行“清零”。
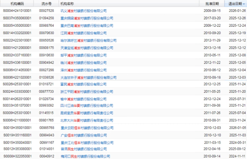
事实上,除了光大银行,股份行中的、、恒丰银行、旗下均有村镇银行退出。截至今年2月2日,退出数量最多的是浦发银行旗下村镇银行,达13家,退出时间分布在去年7月至今年1月区间。
不足三个月,
光大银行旗下3家村镇银行退出
金监总局官网显示,江西瑞金光大村镇银行今年1月23日正式退出,该行由光大银行发起设立,批准日期为2018年11月28日,发证日期为2021年12月20日,发证机关为赣州分局。

来源:金监总局官网
光大银行2025半年报显示,江西瑞金光大村镇银行成立于2018年11月,从事存贷款等商业务,注册地江西省瑞金市,注册资本1.5亿元。截至去年6月末,该村镇银行总资产8.19亿元,净资产1.91亿元,净利润479.52万元。
除了江西瑞金光大村镇银行,光大银行旗下的江苏淮安光大村镇银行于今年1月20日退出;韶山光大村镇银行于去年11月11日退出。
来源:金监总局官网
事实上,早在去年,金监总局便披露了上述两家村镇银行解散的相关批复,其中,湖南金融监管局同意韶山光大村镇银行解散的时间在去年10月29日;江苏金融监管局同意江苏淮安光大村镇银行解散的时间在去年10月31日。
光大银行2025半年报显示,韶山光大村镇银行成立于2009年9月,注册地湖南省韶山市,注册资本1.5亿元。截至去年6月末,该村镇银行总资产8.32亿元,净资产2.46亿元,亏损116.88万元。
江苏淮安光大村镇银行成立于2013年2月,注册地江苏省淮安市,注册资本1亿元。截至去年6月末,该村镇银行总资产9.77亿元,净资产1.42亿元,净利润273.01万元。
企业预警通显示,光大银行持有江苏淮安光大村镇银行100%股份,分别持有韶山光大村镇银行和江西瑞金光大村镇银行70%股份。至此,不足三个月时间,光大银行旗下村镇银行“清零”。
股份行旗下多家村镇银行退出,
浦发银行退出数量最多
在12家股份行中,除了光大银行,、浦发银行、民生银行、华夏银行、恒丰银行等均曾发起设立村镇银行。
其中,民生银行设立的村镇银行数量最多,2025半年报显示,截至6月末,该行共设立29家村镇银行,营业网点80个;村镇银行总资产420.1亿元,比上年末减少3.18亿元;各项存款余额362.31亿元,比上年末减少1.84亿元;各项贷款余额254.96亿元,比上年末减少1.93亿元。
金监总局金融许可证信息显示,截至今年2月2日,浦发银行、华夏银行、恒丰银行、民生银行旗下均有村镇银行退出,中信银行暂未有相关信息。

注:新浪金融研究院根据金监总局官网制作
其中,浦发银行旗下村镇银行退出的数量最多,达13家,退出日期的区间在2025年7月至今年1月。该行2025中报显示,6月末,该行共计在全国19个省市设立了28家浦发村镇银行,其中七成以上机构分布在中西部和东北部。
此外,华夏银行和恒丰银行旗下均有3家村镇银行退出。具体来看,截至今年2月2日,华夏银行旗下3家村镇银行退出,其中,2025年退出的是四川江油华夏村镇银行和昆明呈贡华夏村镇银行,北京大兴华夏村镇银行于2023年11月退出。
与此同时,恒丰银行旗下的重庆云阳恒丰村镇银行于今年1月退出,广安恒丰村镇银行去年11月退出,重庆江北恒丰村镇银行2024年退出。
民生银行共计2家村镇银行退出,其中,普洱民生村镇银行在2025年9月退出,梅河口民生村镇银行在2024年11月退出。
国有大行“村改支”版图扩张,
多家中小行已陆续“出手”
除了股份行,事实上,2025年以来,国有大行已陆续加入“村改支”队伍。去年6月,工行率先出手,填补大行“村改支”的空白。彼时,金监总局江津监管分局发布公告称,同意工行收购重庆璧山工银村镇银行,并设立工行重庆璧山中央大街支行。同年8月28日,重庆金融监管局发布关于重庆璧山工银村镇银行解散的批复。
紧随其后,交行、农行也迅速跟进。其中,今年1月6日,金监总局湖州监管分局披露,同意交行收购浙江安吉交银村镇银行并设立分支机构,包括交行湖州安吉支行、湖州安吉梅溪支行、湖州安吉天荒坪支行,同时承接该村镇银行清产核资后的资产、负债、业务和员工。除了上述村镇银行,去年8月及9月,交行还收购了旗下大邑交银兴民村镇银行、青岛崂山交银村镇银行并设立支行,目前仅新疆石河子交银村镇银行未有收购信息。
据农行2025半年报,该行旗下共计6家村镇银行,分别是克什克腾农银村镇银行、湖北汉川农银村镇银行、安塞农银村镇银行、浙江永康农银村镇银行、厦门同安农银村镇银行、绩溪农银村镇银行。自去年8月以来,金监总局发布多份关于农行收购旗下村镇银行的批复,目前上述村镇银行均被农行收购,并被设立支行。
事实上,从参与收购旗下村镇银行并改设为分支机构的金融机构类型看,多数集中于地方银行。比如,今年1月26日,宝鸡监管分局发布关于长安银行收购陕西陇县长银村镇银行并设立分支机构的批复,其中显示,同意该行收购陕西陇县长银村镇银行并设立长安银行陇县北大街支行,承接陕西陇县长银村镇银行清产核资后的资产、负债、业务和员工等。
1月5日,洛阳金融监管分局发布关于同意中原银行收购河南栾川民丰村镇银行并设立分支机构的批复,同意该行收购河南栾川民丰村镇银行并设立中原银行栾川凤凰天街支行、栾川君山支行、栾川兴华支行、栾川安居支行等。
进入2025年以来,村镇银行改革化险进程显著提速。去年1月,金监总局召开的年度监管工作会议明确了今年六大监管重点任务,将加快推进中小金融机构改革化险列在首位。同年2月,中央一号文件明确提出要“稳妥有序推进村镇银行改革重组”。据金监总局“金融许可证信息”,自2025年以来,我国已有335家村镇银行退出,占全部退出村镇银行数量的75%。
【免责声明】本文仅代表作者本人观点,与和讯网无关。和讯网站对文中陈述、观点判断保持中立,不对所包含内容的准确性、可靠性或完整性提供任何明示或暗示的保证。请读者仅作参考,并请自行承担全部责任。邮箱:news_center@staff.hexun.com